Муфты зубчатые - WEBSITE X5 UNREGISTERED VERSION - ЧУП ТД ГНХС

Перейти к контенту

Главное меню:

Муфты зубчатые

Муфта зубчатая

Описание
Муфты зубчатые (МЗ) общемашиностроительного применения предназначены для соединения соосных горизонтальных валов и передачи крутящего момента от 1000 до 63000 Нм при угловых, радиальных и осевых смещениях валов, при рабочих температурах не выше 120 С климатических исполнений У, Т категорий 1—3, 5 и климатических исполнений УХЛ, О и ОМ категории 4 по ГОСТ 15150-69.

Преимущества
Муфта зубчатая способна компенсировать любые погрешности в соосности валов в достаточно большом диапазоне.

Конструкция
ныкн
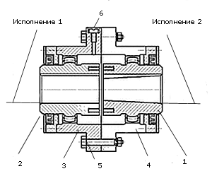
Рис.1 Муфта зубчатая. 1-гайка, 2-шайба, 3-винт, 4-крышка, 
5-крышка под уплотнение, 6-уплотнение, 7-втулка зубчатая, 8-обойма, 9-болт

Муфта зубчатая, это универсальная разновидность компенсирующих муфт. З и состоит из 2х зубчатых колес жестко закрепленных на валах и составного цилиндрического барабана. На зубчатых колесах нарезаны наружные эвольвентные зубья а на цилиндрическом барабане - внутренние, во впадины которых входят зубья внешнего зацепления. Для придания наружным и внутренним зубьям равнопрочности крименяют коррекцию. Чтобы увеличить угол смещения осей соединяемых валов, внешние зубья колес выполняют сферическими и бочкообразными.

Материал изготовления
Все детали изготавливают из стали 40 или 45НХ, 45Л -коваными , при диаметре более 150 мм - литыми

Комплектность поставки
Таблица 1: Комплектация Муфты зубчатой
Деталь
Количество
Наименование
1
1
Муфта зубчатая
2
2
становочный винт (в стандартную комплектацию не входит)
3
1
Паспорт
При приемке муфты следует проверить перечень поставки согласно приведенной таблице (обозначение деталей представлено на рис.1)

Варианты исполнения и подбор муфты зубчатой

Муфта зубчатая изготавливается следующих типов:
1 - с разъемной обоймой;
2 - с промежуточным валом;
3 - с неразъемной обоймой.

Втулки муфт изготавливают следующих исполнений:

1 - с цилиндрическими отверстиями для коротких концов валов по ГОСТ 12080:
2 - с коническими отверстиями для коротких концов валов по ГОСТ 12081 для муфт типов 1 и 3.

Допускается по заказу потребителя изготовлять втулки с отверстиями для концов валов другой формы.
Муфты, заказываемые для эксплуатации при частотах вращения, равных или превышающих 50 % от значения допускаемой частоты, указанной в таблице 1, обозначают буквой С (требования пункта обязательны с 01.06.97). В муфтах допускается комбинация втулок различных исполнений.
Условное обозначение муфт должно включать , обозначение типа "МЗ", значения номинального крутящего момента, диаметров посадочных отверстий втулок или отверстий втулок и фланцевых полумуфт, обозначение исполнения втулок, климатического исполнения и категории по ГОСТ 15150, обозначение настоящего стандарта. В условном обозначении муфты типа 2 диаметр посадочного отверстия фланцевой полумуфты ставят после обозначения диаметра посадочного отверстия втулки.

1, 2 - полумуфты с наружными зубьями;
3, 4 — обоймы; 5 — болты; 6 — от­верстие для подвода смазки

Таблица 2: Подбор зубчатых муфт по номинальным параметрам электродвигателя
(КВт)3000(об/м)1500(об/м)1000(об/м)750(об/м)
600(об/м)
500(об/м)
30МЗ-2МЗ-3МЗ-3МЗ-3
--
37МЗ-3МЗ-3МЗ-4МЗ-4
--
45МЗ-3
МЗ-3
МЗ-4
МЗ-4
-МЗ-5
55МЗ-3
МЗ-4
МЗ-4
МЗ-5
МЗ-5
МЗ-5
75МЗ-3
МЗ-4
МЗ-4
МЗ-4
МЗ-5
МЗ-6
90МЗ-4
МЗ-4
МЗ-5
МЗ-5
МЗ-6
МЗ-6
110МЗ-4
МЗ-5
МЗ-5
МЗ-5
МЗ-6
МЗ-6
132МЗ-4
МЗ-5
МЗ-5
МЗ-6
МЗ-6
МЗ-6
160МЗ-4
МЗ-5
МЗ-6МЗ-6
МЗ-6
МЗ-6
200МЗ-4
МЗ-5
МЗ-6
МЗ-6
МЗ-6
МЗ-6
250МЗ-5
МЗ-6
МЗ-6
МЗ-6
МЗ-6
МЗ-7
315МЗ-6
МЗ-6
МЗ-6
МЗ-7
МЗ-7
МЗ-7
400МЗ-6
МЗ-6
МЗ-6
МЗ-7
МЗ-7
МЗ-7
500МЗ-6
МЗ-6
МЗ-6
МЗ-7
МЗ-7
МЗ-8
630МЗ-6
МЗ-6
МЗ-7
МЗ-8
МЗ-8
МЗ-8
800МЗ-6
МЗ-7
МЗ-7
МЗ-8
МЗ-8
МЗ-9
1000МЗ-6
МЗ-7
МЗ-8
МЗ-8
МЗ-9
МЗ-10
1250МЗ-6
МЗ-8
МЗ-8
МЗ-9
МЗ-10
МЗ-10
1600МЗ-6
МЗ-8
МЗ-8
МЗ-9
МЗ-10
МЗ-11
2000МЗ-7
МЗ-9
МЗ-9
МЗ-9
МЗ-11
МЗ-11
2500МЗ-7
МЗ-9
МЗ-9
МЗ-11
МЗ-11
МЗ-12
3150МЗ-8МЗ-10МЗ-12МЗ-11
МЗ-12
МЗ-13
4000МЗ-8МЗ-11МЗ-13МЗ-12
МЗ-13
-
5000МЗ-8МЗ-12МЗ-13МЗ-13
--
 
Назад к содержимому | Назад к главному меню